FLASH KAMPANYA: Tüm Ürünlerde %70'e Varan İndirim!
Sınırlı Süre
905319915490
info@masseyapi.com
Ara
Popüler Aramalar:
Grohe Batarya
Bocchi Lavabo
Duravit
Banyo Seti
Hesabım
Favorilerim
0
Sepetim
0
Bataryalar ve Musluklar
Grohe Batarya Setleri
Lavabo Bataryaları
Standart Lavabo Bataryası
Ankastre Lavabo Bataryası
Çanak Lavabo Bataryasi
Üç Delikli Lavabo Bataryası
Fotoselli Lavabo Bataryası
Tüm Ürünler
Banyo Bataryaları
Standart Banyo Bataryası
Ankastre Banyo Bataryası
Termostatik Banyo Bataryası
Ankastre Termostatik Banyo Bataryası
Ankastre İç Gövdeler
Duş Bataryaları
Standart Duş Bataryası
Ankastre Duş Bataryası
Zaman Ayarlı Duş Bataryası
Termostatik Duş Bataryası
Ankastre Termostatik Duş Bataryası
Eviye Bataryaları
Standart Eviye Bataryası
Spiralli Eviye Bataryası
Profesyonel Eviye Bataryası
Arıtmalı Eviye Bataryası
Grohe Filtreler
Tüm Ürünler
Küvet Bataryaları
Yerden Küvet Bataryası
Ankastre Küvet Bataryası
Küvet Bataryası İç Gövdeleri
Musluklar ve Sifonlar
Musluk
Lavabo Sifonları
Ara Musluklar
Çamaşır ve Bulaşık Makine Muslukları
Ankastre Stop Valfler
Tüm Ürünler
Ankastre Çıkış Ucu Gagaları
Bide Bataryaları
Taharet Spreyleri
Yedek Parçalar
Duş Sistemleri
Duş Kolonları ve Duş Panelleri
Termostatik Duş Kolonları ve Duş Panelleri
Ankastre Banyo ve Duş Setleri
Termostatik Ankastre Banyo ve Duş Setleri
Tepe Duşları
Tepe Duşu Başlığı
Duş Başlığı Dirsekleri
Tepe Duşu İç Gövdeleri
El Duşları ve Askıları
El Duşları
El Duşu Çıkış Uçları
El Duşu Askıları
El Duşu Hortumları
Sürgülü El Duş Takımları
Ankastre Çıkış Ucu Gagaları
Spa Malzemeleri
Rezervuarlar
Standart Gömme Rezarvuarlar
Alçıpan Gömme Rezarvuarlar
Hela Taşı Gömme Rezarvuarlar
Duvar Önü Rezarvuarlar
Rezervuar Kumanda Panelleri
Çift Basmalı Kumanda Panelleri
Tek Basmalı Kumanda Panelleri
Fotoselli Kumanda Panelleri
Asma Klozet ve Gömme Rezarvuar Setleri
Banyo Aksesuarları
Tuvalet Kağıtlıkları
Tuvalet Fırçalıkları
Havluluklar
Bornoz Askılıkları
Diş Fırçalıkları
Sabunluklar
Küvet Tutamakları
Çöp Kovaları
Havlu Rafları
Makyaj ve Tıraş Aynaları
Havlupanlar
Süngerlikler
Köşe Malzemelikler
Kağıt Havluluklar
Aplikler
Aksesuar Setleri
Genel Kullanım Alanı Aksesuarları
Etajerler
Çamaşır Askı İpleri
Vitrifiyeler
Asma Klozet ve Gömme Rezarvuar Setleri
Asma Klozet ve Gömme Rezarvuar Setleri
Klozetler
Lavabolar
Pisuvarlar
Sıva Altı Pisuvar Yıkama Sistemleri
Tüm Ürünler
Klozetler
Asma Klozetler
Klozet Rezervuar Takımları
Klozet Kapakları
Bedensel Engelli Klozetler
Akıllı Klozet
Tüm Ürünler
Lavabolar
Standart Lavabolar
Çanak Lavabolar
Tezgah Altı Lavabolar
Tezgah Üstü Lavabolar
Etajerli Lavabolar
Tüm Ürünler
Pisuvarlar
Üstten Su Girişli Pisuvarlar
Arkadan Su Girişli Pisuvarlar
Susuz Pisuvarlar
Fotoselli Pisuvarlar
Pisuvar Ara Bölmeleri
Sıva Altı Pisuvar Yıkama Sistemleri
Fotoselli Pisuvar Yıkama Sistemleri
Sıva Üstü Pisuvar Yıkama Sistemleri
Fotoselli Pisuvar Yıkama Sistemleri
Zaman Ayarlı Pisuvar Yıkama Sistemleri
Bideler
Mutfak Ürünleri
Eviye ve Batarya Setleri
Eviyeler
Tezgah Altı Çelik Eviyeler
Tezgah Üstü Çelik Eviyeler
Tezgah Altı Kompozit Eviyeler
Tezgah Üstü Kompozit Eviyeler
Seramik Eviyeler
Eviye Bataryaları
Standart Eviye Bataryası
Spiralli Eviye Bataryası
Profesyonel Eviye Bataryası
Arıtmalı Eviye Bataryası
Grohe Filtreler
Tüm Ürünler
Eviye Aksesuarları
Ankastre Sıvı Sabunluk
Kesme Tahtası
Eviye Süzgeci
Eviye Sifonu
Eviye Taban Teli
Küvet ve Duş Alanları
Küvetler
Dikdörtgen Küvetler
Özgür Küvetler
Özel Küvetler
Küvet Bataryaları
Yerden Küvet Bataryaları
Ankastre Küvet Bataryaları
Küvet Bataryası İç Gövdeleri
Duş Kanalları
Duş Kabinleri
Köşe Kabinler
Seramik Fayans
Yer ve Seramikleri
Kale Seramik
Bataryalar ve Musluklar
Bataryalar ve Musluklar
Grohe Batarya Setleri
Lavabo Bataryaları
Lavabo Bataryaları
Standart Lavabo Bataryası
Ankastre Lavabo Bataryası
Çanak Lavabo Bataryasi
Üç Delikli Lavabo Bataryası
Fotoselli Lavabo Bataryası
Zaman Ayarlı Lavabo Bataryası
Bedensel Engelli Lavabo Bataryası
Yerden Lavabo Bataryaları
Ankastre İç Gövdeler
Tümünü Gör
Banyo Bataryaları
Banyo Bataryaları
Standart Banyo Bataryası
Ankastre Banyo Bataryası
Termostatik Banyo Bataryası
Ankastre Termostatik Banyo Bataryası
Ankastre İç Gövdeler
Tümünü Gör
Duş Bataryaları
Duş Bataryaları
Standart Duş Bataryası
Ankastre Duş Bataryası
Zaman Ayarlı Duş Bataryası
Termostatik Duş Bataryası
Ankastre Termostatik Duş Bataryası
Tümünü Gör
Eviye Bataryaları
Eviye Bataryaları
Standart Eviye Bataryası
Spiralli Eviye Bataryası
Profesyonel Eviye Bataryası
Arıtmalı Eviye Bataryası
Grohe Filtreler
Duvardan Eviye Batrayası
Tümünü Gör
Küvet Bataryaları
Küvet Bataryaları
Yerden Küvet Bataryası
Ankastre Küvet Bataryası
Küvet Bataryası İç Gövdeleri
Tümünü Gör
Musluklar ve Sifonlar
Musluklar ve Sifonlar
Musluk
Lavabo Sifonları
Ara Musluklar
Çamaşır ve Bulaşık Makine Muslukları
Ankastre Stop Valfler
Ankastre Stop Valf İç Gövdeler
Tümünü Gör
Ankastre Çıkış Ucu Gagaları
Bide Bataryaları
Taharet Spreyleri
Yedek Parçalar
Tümünü Gör
Duş Sistemleri
Duş Sistemleri
Duş Kolonları ve Duş Panelleri
Termostatik Duş Kolonları ve Duş Panelleri
Ankastre Banyo ve Duş Setleri
Termostatik Ankastre Banyo ve Duş Setleri
Tepe Duşları
Tepe Duşları
Tepe Duşu Başlığı
Duş Başlığı Dirsekleri
Tepe Duşu İç Gövdeleri
Tümünü Gör
El Duşları ve Askıları
El Duşları ve Askıları
El Duşları
El Duşu Çıkış Uçları
El Duşu Askıları
El Duşu Hortumları
Tümünü Gör
Sürgülü El Duş Takımları
Ankastre Çıkış Ucu Gagaları
Spa Malzemeleri
Tümünü Gör
Rezervuarlar
Rezervuarlar
Standart Gömme Rezarvuarlar
Alçıpan Gömme Rezarvuarlar
Hela Taşı Gömme Rezarvuarlar
Duvar Önü Rezarvuarlar
Rezervuar Kumanda Panelleri
Rezervuar Kumanda Panelleri
Çift Basmalı Kumanda Panelleri
Tek Basmalı Kumanda Panelleri
Fotoselli Kumanda Panelleri
Tümünü Gör
Asma Klozet ve Gömme Rezarvuar Setleri
Tümünü Gör
Banyo Aksesuarları
Banyo Aksesuarları
Tuvalet Kağıtlıkları
Tuvalet Fırçalıkları
Havluluklar
Bornoz Askılıkları
Diş Fırçalıkları
Sabunluklar
Küvet Tutamakları
Çöp Kovaları
Havlu Rafları
Makyaj ve Tıraş Aynaları
Havlupanlar
Süngerlikler
Köşe Malzemelikler
Kağıt Havluluklar
Aplikler
Aksesuar Setleri
Genel Kullanım Alanı Aksesuarları
Etajerler
Çamaşır Askı İpleri
Tümünü Gör
Vitrifiyeler
Vitrifiyeler
Asma Klozet ve Gömme Rezarvuar Setleri
Asma Klozet ve Gömme Rezarvuar Setleri
Asma Klozet ve Gömme Rezarvuar Setleri
Klozetler
Lavabolar
Pisuvarlar
Sıva Altı Pisuvar Yıkama Sistemleri
Sıva Üstü Pisuvar Yıkama Sistemleri
Asma Klozet Kapak Setleri
Tümünü Gör
Klozetler
Klozetler
Asma Klozetler
Klozet Rezervuar Takımları
Klozet Kapakları
Bedensel Engelli Klozetler
Akıllı Klozet
Klozetler
Yerden Tek Klozetler
Rezervuarlar
Rezervuar İç Takımları
Tümünü Gör
Lavabolar
Lavabolar
Standart Lavabolar
Çanak Lavabolar
Tezgah Altı Lavabolar
Tezgah Üstü Lavabolar
Etajerli Lavabolar
Monoblok Lavabolar
Bedensel Engelli Lavabolar
Köşe Lavabolar
Çift Gözlü Lavabolar
Yarım Tezgah Lavabolar
Lavabo Ayakları
Tümünü Gör
Pisuvarlar
Pisuvarlar
Üstten Su Girişli Pisuvarlar
Arkadan Su Girişli Pisuvarlar
Susuz Pisuvarlar
Fotoselli Pisuvarlar
Pisuvar Ara Bölmeleri
Tümünü Gör
Sıva Altı Pisuvar Yıkama Sistemleri
Sıva Altı Pisuvar Yıkama Sistemleri
Fotoselli Pisuvar Yıkama Sistemleri
Tümünü Gör
Sıva Üstü Pisuvar Yıkama Sistemleri
Sıva Üstü Pisuvar Yıkama Sistemleri
Fotoselli Pisuvar Yıkama Sistemleri
Zaman Ayarlı Pisuvar Yıkama Sistemleri
Bideler
Tümünü Gör
Tümünü Gör
Mutfak Ürünleri
Mutfak Ürünleri
Eviye ve Batarya Setleri
Eviyeler
Eviyeler
Tezgah Altı Çelik Eviyeler
Tezgah Üstü Çelik Eviyeler
Tezgah Altı Kompozit Eviyeler
Tezgah Üstü Kompozit Eviyeler
Seramik Eviyeler
Tümünü Gör
Eviye Bataryaları
Eviye Bataryaları
Standart Eviye Bataryası
Spiralli Eviye Bataryası
Profesyonel Eviye Bataryası
Arıtmalı Eviye Bataryası
Grohe Filtreler
Duvardan Eviye Batrayası
Tümünü Gör
Eviye Aksesuarları
Eviye Aksesuarları
Ankastre Sıvı Sabunluk
Kesme Tahtası
Eviye Süzgeci
Eviye Sifonu
Eviye Taban Teli
Tümünü Gör
Tümünü Gör
Küvet ve Duş Alanları
Küvet ve Duş Alanları
Küvetler
Küvetler
Dikdörtgen Küvetler
Özgür Küvetler
Özel Küvetler
Tümünü Gör
Küvet Bataryaları
Küvet Bataryaları
Yerden Küvet Bataryaları
Ankastre Küvet Bataryaları
Küvet Bataryası İç Gövdeleri
Tümünü Gör
Duş Kanalları
Duş Kabinleri
Duş Kabinleri
Köşe Kabinler
Tümünü Gör
Tümünü Gör
Seramik Fayans
Seramik Fayans
Yer ve Seramikleri
Tümünü Gör
Kale Seramik
İletişim
0212 939 08 98
info@masseyapi.com
Hesabım
Giriş Yap
Hesabınıza giriş yapın
Kullanıcı Adı/E-Posta
Şifre
Beni Hatırla
Şifremi Unuttum
Giriş Yap
Hesabınız yok mu?
Kayıt Ol
Sepetim
Anasayfa
EKLE
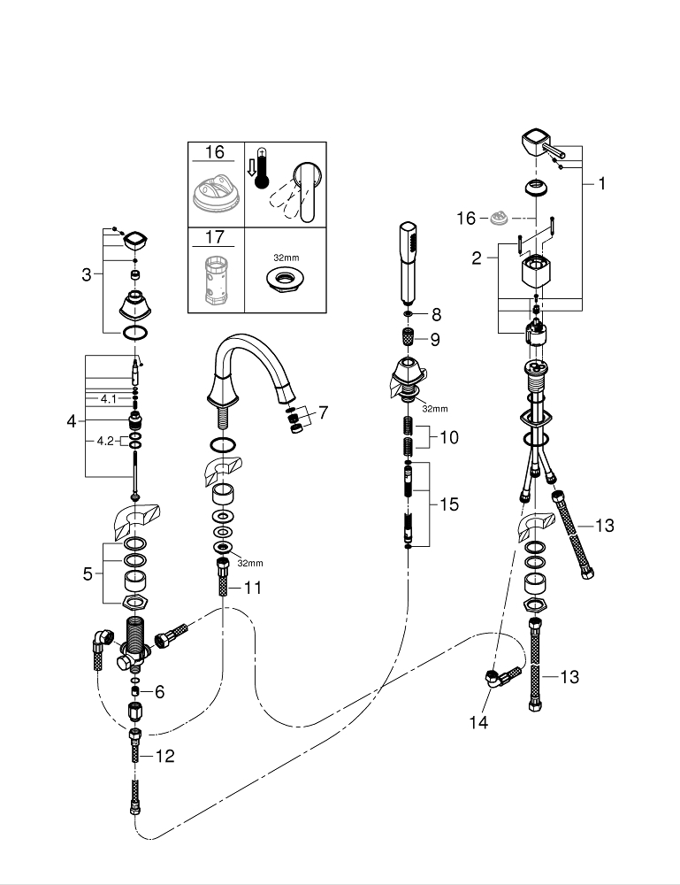
Grohe Grandera Dört Delikli Küvet Bataryası - 29418000
%
0
İndirim
GROHE
Grohe Grandera Dört Delikli Küvet Bataryası - 29418000
Ürün Kodu :
GRH29418000
Model :
Grandera
55.285
TL
55.285
TL
0 TL
tasarruf
Havale Fiyatı :
53.626
TL
%3
İndirim
Daha Fazla
GROHE
Daha Fazla
EKLE
Stokta yok - Yakında gelecek
Adet
Sepete Ekle
Hemen Al
Favorilere Ekle
Karşılaştır
Paylaş
Tükendi
Gelince Haber Ver
Ücretsiz Kargo
1000 TL üzeri
Hızlı Teslimat
Aynı gün kargo
WhatsApp Desteği
Profesyonel destek
5 Yıl Garanti
Resmi garanti
Ödeme Seçenekleri
12 aya varan taksit
Havale/EFT %3 indirim
Güvenli ödeme
Ürün Açıklaması
Ödeme Seçenekleri
Yorumlar
Tavsiye Et
İade Koşulları
Grohe Grandera Dört Delikli Küvet Bataryası - 29418000
Benzer Ürünler
Bu ürünü beğenen müşteriler bunları da inceledi
%
0
GROHE
Grohe Essence İki Delikli Lavabo BataryasıM - 29192DL1
16.921
TL
16.921
TL
Sepete Ekle
%
20
GEBERİT
Asma klozet için Geberit Kombifix elemanı, 109 cm, Alpha 8 cm gömme rezervuar ile, destek ayakları ile
8.256
TL
10.320
TL
Sepete Ekle
%
0
GROHE
Grohe Essence İki Delikli Lavabo BataryasıM - 29192GL1
15.854
TL
15.854
TL
Sepete Ekle
%
0
GROHE
Grohe Essence İki Delikli Lavabo BataryasıM - 29192AL1
16.921
TL
16.921
TL
Sepete Ekle
%
0
GROHE
Grohe Essence Tek Kumandalı Lavabo Bataryası S - 24171A01
12.369
TL
12.369
TL
Sepete Ekle
%
0
GROHE
Grohe Essence İki Delikli Lavabo BataryasıM - 29192GN1
16.921
TL
16.921
TL
Sepete Ekle
%
0
GROHE
Grohe Essence Tek Kumandalı Lavabo Bataryası S - 24171DL1
12.809
TL
12.809
TL
Sepete Ekle
%
0
GROHE
Grohe Essence Tek Kumandalı Lavabo Bataryası S - 24171GL1
12.369
TL
12.369
TL
Sepete Ekle
%
0
GROHE
Grohe Essence Tek Kumandalı Lavabo Bataryası S - 24171AL1
12.809
TL
12.809
TL
Sepete Ekle
%
0
GROHE
Grohe Essence İki Delikli Lavabo Bataryası M - 29192A01
15.854
TL
15.854
TL
Sepete Ekle
T
-Soft
E-Ticaret
Sistemleriyle Hazırlanmıştır.